Filter Design for Beginners - Part 1

Introduction

Filters are really clever devices that pass a range of frequencies (passband) from a source to a load while stopping another range of frequencies (stopband). In the passband, the filter has some insertion loss, usually a few dB at most, sometimes almost nothing. In the stopband, the filter has rejection, usually tens of dB. Most filter designs are made with very low loss components, so that the source power is either passed through to the load (frequency in the passband) or reflected back to the source (frequency in the stopband). This type of filter dissipates little at any frequency.

Any filter design should probably be checked by a circuit analysis of that design. In that way its passband and stopband, and its input reflection, can be calculated and checked. One can make sure of the component values before building the filter.

In this note, we are going to discuss passive L-C filter designs. There are some common threads through all of passive filter design. Let's look at low-pass designs first, then highpass designs. Bandpass designs that reject low and high frequencies will be dicussed later.

Low-pass Filters

The most common design is for lowpass filters using series inductors alternating with shunt capacitors from resistive source to resistive load. This is sketched in Figure 1. These are used all over the place, for TX spur and harmonic reduction to audio RX noise reduction. Let's use image parameter design for our filter. This is also known as "Constant-K" design. There are other techniques to design filters that give responses that match polynomials, such as Butterworth designs (maximally flat), Chebyshev designs (passband ripple), and Cauer (elliptic) designs (passband ripple and stopband notches). The simplest filters are based on image parameters. All the other designs are "close" to these, so let's go with these. There are no notch frequencies yet.

Image Parameter Design

Image parameter design, or constant K design, is really very easy. First, let's define a "half-section" lowpass filter that has a series L and a shunt C, like an L-network. Let's also define a characteristic impedance that can be used as source and load impedances. And let's define a cutoff frequency where the lowpass filter passes lower frequency signals and stops higher ones. The reactance of the L at the cutoff frequency is equal to the characteristic impedance. The reactance of the C at the cutoff frequency is equal to the characteristic impedance, too. That means the L and C happen to resonate at the cutoff frequency. The L starts to "stop" higher frequency signals from getting from the source to the load. The C starts to "shunt" higher frequency signals away from the load.

Combining Sections

The simplest 1-pole filters have just the series inductor or the shunt capacitor ... and have a really slow roll-off. Sometimes that's all a certain design requires. The 2-pole design has both the L and C ... a half-section. Half-sections can be combined in a "ladder", a cascade of sections. When we do this, we place them "head-to-tail", turning the next half-section around, placing the two inductors in series or the two capacitors in parallel. Notice that if we do this, we can combine the two series-ed inductors into one inductor of twice the value. If we have two capacitors in parallel, they can be replaced by one of twice the value, too. That way we have fewer parts, the center ones all at the same value, and the parts at the input and output, at half that value. Most ladder filters look and act like this one.

Example 1: 7-pole lowpass, image parameter design, 40 MHz cutoff, 50 ohm impedance.

This would be a good harmonic filter for TVI reduction from an HF transmitter. The half-section values (that have 50 ohms reactance at 40 MHz) are L = 0.2 uH and C = 80 pF. We can check the resonant frequency of this L-C and find it's around 40 MHz. Good. Our 7-pole filter can be built starting either with an inductor input or a capacitor input. Let's use an inductor. We need 0.2 uH in series from the input, 160 pF in shunt to ground, 0.4 uH series, 160 pF shunt, 0.4 uH series, 160 pF shunt, and 0.2 uH series to the output. This filter is shown in Figure 2. Its response is graphed in Figure 3. Now this has only about 45 dB of rejection at 55 MHz (Ch 2), but more like 60 dB rejection at 75 MHz (Ch 5). A notch around 56 MHz certainly would help.

Highpass Filter - Balanced Designs

A highpass can be built in the same way, but here the series element is a capacitor and the shunt element is an inductor. Values are calculated the same way for the half-section. When sections are cascaded "head-to-tail", the series capacitors can be combined as one at half the value and the shunt inductors can be combined in parallel at half the value. Use 40 MHz cutoff on 75 ohms and this might make a good back-of-set TVI filter. Note that for balanced lines, like twinlead, the series element of the half-section should be made up of two components, each with half of the reactance, one in each conductor. This is sketched in Figure 4.

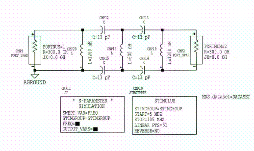
Example 2: 5-pole highpass filter for 300 ohm twinlead, 40 MHz cutoff.

This might be a back-of-set TVI filter for the interfered-with TV receiver. The half-section values are C = 13.3 pF series (27 pF in each side) and L = 1.2 uH in shunt. Let's choose capacitor input. So four capacitors at 27 pF and one inductor at 0.6 uH and two at 1.2 uH would do it. See Figure 5. At 20 MHz we might expect almost 40 dB rejection. At 10 MHz, it should be about 70 dB. The response is in Figure 6.

Estimating Rolloff Rates

A reasonable estimation of the rolloff of a filter is to assume 6 dB per pole per octave from the cutoff frequency. So at four times the cutoff frequency (two octaves) a five-pole lowpass filter would have about 2 x 5 x 6 dB = 60 dB of attenuation from source to load. A five-pole highpass filter at one-fourth its cutoff frequency would also have 60 dB attenuation.

Conclusion of Part 1

This note talks about lowpass and highpass image parameter, constant-K filters. These all-pole filters (no notches) are easy to design. One can design these filters without a computer, a calculator, or even a pencil and paper. The addition of m-derived sections (notches!) at the input and output is discussed in the next section and will probably require some aids.